
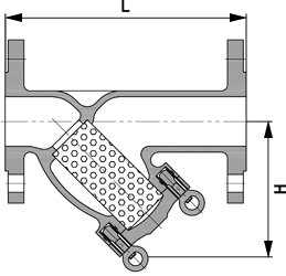
快開Y型過濾器是(shi)一(yi)種殼(ke)體(ti)下端(duan)(duan)蓋(gai)(gai)(gai)(gai)口(kou)部位和殼(ke)蓋(gai)(gai)(gai)(gai)之間通過活節螺(luo)栓(shuan)(shuan)機構與吊(diao)環螺(luo)母旋松或(huo)擰(ning)緊實現快速開關的(de)(de)快開盲板Y型過濾(lv)器。其殼(ke)體(ti)的(de)(de)下端(duan)(duan)口(kou)設置有(you)蓋(gai)(gai)(gai)(gai)口(kou)部,并連(lian)接(jie)(jie)有(you)殼(ke)蓋(gai)(gai)(gai)(gai),活節螺(luo)栓(shuan)(shuan)的(de)(de)一(yi)端(duan)(duan)插(cha)入焊(han)接(jie)(jie)在殼(ke)體(ti)下端(duan)(duan)蓋(gai)(gai)(gai)(gai)口(kou)部的(de)(de)支撐塊中,并且它們之間通過軸承鉸鏈(lian)連(lian)接(jie)(jie),另一(yi)端(duan)(duan)連(lian)接(jie)(jie)吊(diao)環螺(luo)母,殼(ke)蓋(gai)(gai)(gai)(gai)上(shang)還(huan)焊(han)有(you)一(yi)帶通孔的(de)(de)支耳,殼(ke)蓋(gai)(gai)(gai)(gai)經吊(diao)環螺(luo)母向蓋(gai)(gai)(gai)(gai)口(kou)部方向壓緊,且通過活節螺(luo)栓(shuan)(shuan)與殼(ke)體(ti)進行(xing)固定連(lian)接(jie)(jie)。本產品(pin)特適用(yong)于需經常(chang)進行(xing)拆裝提取濾(lv)網的(de)(de)場合。
快開Y型過濾器是我(wo)廠為解決(jue)現(xian)有過濾器存(cun)在著清洗濾網不便(bian)捷、費時(shi)費力(li)的問題而(er)研(yan)制(zhi)的,其(qi)拆裝維護時(shi)無需(xu)多人合作,不需(xu)吊裝設(she)備(bei),更不必使(shi)用(yong)專門(men)的工(gong)具,僅僅需(xu)要能(neng)穿(chuan)過吊環螺母(mu)孔并(bing)能(neng)承受(shou)一定扭力(li)的棒(bang)子或鋼管即可,吊環螺母(mu)不用(yong)擰(ning)下來,只(zhi)需(xu)擰(ning)到端頭,使(shi)得活節(jie)螺栓能(neng)夠轉動就(jiu)行。本產品具有殼蓋啟閉方便(bian)快捷,省時(shi)省力(li)的特點,大大減輕(qing)了(le)工(gong)人的勞動強(qiang)度,提高了(le)工(gong)作效率,同(tong)時(shi)也避免了(le)傳統(tong)連接中(zhong)螺栓和螺母(mu)容易丟失的問題。
| 序號 | 部件名稱 | 材料名稱 | ||||
| 1 | 殼 體 | WCB | CF8 | CF3 | CF8M | CF3M |
| 2 | 濾 框 | 304 | 304 | 304L | 316 | 316L |
| 3 | 濾 網 | 304 | 304 | 304L | 316 | 316L |
| 4 | 密封墊片 | GRAPHITE | PTFE | PTFE | PTFE | PTFE |
| 5 | 殼 蓋 | WCB | CF8 | CF3 | CF8M | CF3M |
| 6 | 活節螺栓 | 35CrMo | 304 | 304 | 316 | 316 |
| 7 | 吊環螺母 | 35CrMo | 304 | 304 | 316 | 316 |
| 公稱壓力PN(MPa) | 1.6 | 2.5 | 4.0 | 2.0 | 5.0 |
| 殼體強度試驗壓力(MPa) | 2.4 | 3.75 | 6.0 | 3.0 | 7.5 |
| 氣密性試驗壓力(MPa) | 1.6 | 2.5 | 4.0 | 2.0 | 5.0 |
| 設計制造 | SH/T 3411-1999、HG/T 21637-1991、GB/T 14382-2008 | ||||
| 法蘭標準 | JB/T 79、GB/T 9113、HG/T 20592、HG/T 20615、SH/T 3406、ASME B16.5等 | ||||
| 檢驗試驗 | SH/T 3411-1999、HG/T 21637-1991、GB/T 14382-2008 | ||||
| 過濾精度 | 2目 ~ 600目 | ||||
| 公稱壓力 PN | 公稱通徑 DN | 結構尺寸/mm | 公稱壓力 PN | 公稱通徑 DN | 結構尺寸/mm | ||
| L | H | L | H | ||||
| 16 | 50 | 216/216 | 105 | 16 | 250 | 552/540 | 380 |
| 65 | 250/252 | 150 | 300 | 606/640 | 410 | ||
| 80 | 285/282 | 175 | 350 | 668/683 | 480 | ||
| 100 | 305/309 | 200 | 400 | 755/755 | 540 | ||
| 125 | 350/345 | 205 | 450 | 853/853 | 580 | ||
| 150 | 385/388 | 260 | 500 | 890/900 | 645 | ||
| 200 | 485/468 | 300 | 600 | 1060/1060 | 950 | ||
| 表中未列出的其他規格參數,請咨詢汗越閥門技術部! | |||||||

上一條:SRYI4石油化工泵用Y型過濾器
下一條:LPGKG快開籃式過濾器
