
SRT2加長型側流式T型過濾器是一種宜安(an)裝在管(guan)道90°拐彎(wan)處,過濾(lv)(lv)(lv)介質中的(de)(de)固(gu)體雜質,從(cong)而使泵閥、機器(qi)設備、儀表(biao)等能正(zheng)常工作和(he)運轉,達到穩定(ding)工藝過程,保(bao)障生(sheng)產的(de)(de)裝置,其同(tong)心大小頭濾(lv)(lv)(lv)芯(xin)(xin)依靠濾(lv)(lv)(lv)筒母材(cai)鋼(gang)板(ban)的(de)(de)張力卡接(jie)在卡槽與(yu)盲(mang)法蘭之(zhi)間,將進出(chu)(chu)口(kou)隔開(kai),這樣(yang)物(wu)(wu)料從(cong)入(ru)口(kou)端(duan)進入(ru)后,先(xian)流入(ru)到濾(lv)(lv)(lv)芯(xin)(xin)內,經(jing)濾(lv)(lv)(lv)筒上(shang)包縛的(de)(de)濾(lv)(lv)(lv)網將固(gu)體顆(ke)粒過濾(lv)(lv)(lv)干凈后,才從(cong)出(chu)(chu)料口(kou)流出(chu)(chu)。而相(xiang)比相(xiang)同(tong)規(gui)格(ge)的(de)(de)同(tong)類產品,該T型過濾(lv)(lv)(lv)器(qi)放網部位的(de)(de)結構長度(du)進行了(le)加長,故而增大了(le)它的(de)(de)過濾(lv)(lv)(lv)面積(ji),這樣(yang)意味著(zhu)能夠容納的(de)(de)懸浮物(wu)(wu)和(he)顆(ke)粒物(wu)(wu)就更多,減少了(le)濾(lv)(lv)(lv)網堵塞的(de)(de)可能性(xing),進而延長了(le)濾(lv)(lv)(lv)芯(xin)(xin)的(de)(de)清(qing)洗(xi)時間間隔,減輕(qing)了(le)勞動強度(du)。而用于本產品制作的(de)(de)三(san)通(tong)管(guan)件接(jie)口(kou)外徑以及其他尺寸的(de)(de)偏差按GB/T 12459-2017的(de)(de)規(gui)定(ding)。
| 序號 | 部件名稱 | 材料名稱 | ||||
| 1 | 等徑三通 | 20# | 12Cr5Mo | 06Cr19Ni10 | 06Cr17Ni12Mo2 | 022Cr17Ni12Mo2 |
| 2 | 接 管 | 20# | 12Cr5Mo | 06Cr19Ni10 | 06Cr17Ni12Mo2 | 022Cr17Ni12Mo2 |
| 3 | 濾 座 | Q235-B | 12Cr5Mo | 06Cr19Ni10 | 06Cr17Ni12Mo2 | 022Cr17Ni12Mo2 |
| 4 | 法 蘭 | A105 | 12Cr5Mo | 06Cr19Ni10 | 06Cr17Ni12Mo2 | 022Cr17Ni12Mo2 |
| 5 | 墊 片 | 聚四氟乙烯、金屬環形墊、金屬纏繞墊(帶內外環) | ||||
| 6 | 端 蓋 | Q235-B | 12Cr5Mo | 06Cr19Ni10 | 06Cr17Ni12Mo2 | 022Cr17Ni12Mo2 |
| 7 | 排污堵頭 | 06Cr19Ni10 | 06Cr19Ni10 | 06Cr19Ni10 | 06Cr17Ni12Mo2 | 022Cr17Ni12Mo2 |
| 8 | 濾 筒 | 06Cr19Ni10 | 06Cr19Ni10 | 06Cr19Ni10 | 06Cr17Ni12Mo2 | 022Cr17Ni12Mo2 |
| 9 | 濾 網 | 06Cr19Ni10 | 06Cr19Ni10 | 06Cr19Ni10 | 06Cr17Ni12Mo2 | 022Cr17Ni12Mo2 |
| 公稱壓力PN(MPa) | 1.6 | 2.5 | 4.0 | 2.0 | 5.0 |
| 水壓強度試驗壓力(MPa) | 2.4 | 3.75 | 6.0 | 3.0 | 7.5 |
| 氣密性試驗壓力(MPa) | 1.6 | 2.5 | 4.0 | 2.0 | 5.0 |
| 設計制造 | GB/T 14382-2008 管道用三通過濾器 | ||||
| 對焊端部 | 符合GB/T 12459-2017或ASME B16.9-2018的規定 | ||||
| 檢驗試驗 | GB/T 14382-2008 管道用三通過濾器 | ||||
| 工作溫度 | -196℃ ~ 540℃ | ||||
| 過濾精度 | 12000μm ~ 20μm | ||||
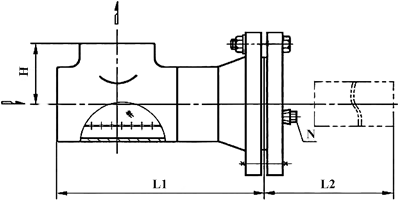
| 公稱壓力 PN | 公稱尺寸 DN | 安裝尺寸/mm | 過濾面積 cm2 | 排污口N 管螺紋 | ||
| H | L1 | L2 | ||||
| 16 | 50 | 64 | 338 | 326 | 210 | R ? |
| 65 | 76 | 408 | 393 | 295 | R ? | |
| 80 | 86 | 451 | 436 | 406 | R ? | |
| 100 | 105 | 556 | 532 | 520 | R ? | |
| 125 | 124 | 602 | 584 | 870 | R ? | |
| 150 | 143 | 633 | 600 | 940 | R ? | |
| 200 | 178 | 731 | 698 | 1600 | R ? | |
| 250 | 216 | 817 | 784 | 2400 | R ? | |
| 300 | 254 | 915 | 882 | 3000 | R ? | |
| 350 | 279 | 1043 | 1010 | 4000 | R ? | |
| 400 | 305 | 1106 | 1073 | 5000 | R ? | |
| 表中未列出的其他規格參數,請咨詢汗越閥門技術部! | ||||||

上一條:正折流式T型過濾器
下一條:基本型側流式T型過濾器
