
手搖刷式Y型過濾器是(shi)一種(zhong)清(qing)(qing)洗(xi)(xi)濾網(wang)(wang)時不(bu)(bu)需(xu)要(yao)拆(chai)(chai)開殼(ke)蓋(gai),可(ke)以(yi)(yi)在(zai)線通(tong)過轉動濾筒內(nei)置(zhi)的刷子直接將絲(si)網(wang)(wang)上的濾出(chu)物刷下(xia),并(bing)經端蓋(gai)上設(she)置(zhi)的排(pai)(pai)污(wu)(wu)閥(fa)排(pai)(pai)出(chu)系統外的裝置(zhi)。其通(tong)常垂直或(huo)水(shui)(shui)平安(an)裝在(zai)管線中,當水(shui)(shui)流(liu)(liu)從進水(shui)(shui)口(kou)進入置(zhi)有相應目數的濾網(wang)(wang)內(nei)后(hou),其中的固體雜質被(bei)攔截,并(bing)聚積(ji)在(zai)絲(si)網(wang)(wang)內(nei)表面和沉積(ji)在(zai)殼(ke)體底(di)部排(pai)(pai)放口(kou)處,濾后(hou)水(shui)(shui)則由出(chu)水(shui)(shui)口(kou)流(liu)(liu)出(chu),當需(xu)要(yao)清(qing)(qing)洗(xi)(xi)時,無(wu)需(xu)停(ting)機,更不(bu)(bu)必拆(chai)(chai)卸過濾器部件(jian),只需(xu)手動開啟排(pai)(pai)污(wu)(wu)閥(fa),并(bing)輕(qing)輕(qing)轉動清(qing)(qing)洗(xi)(xi)刷手柄數圈,即可(ke)將濾網(wang)(wang)上附(fu)著的各類懸(xuan)浮物和顆粒物刷洗(xi)(xi)下(xia)來,并(bing)隨水(shui)(shui)流(liu)(liu)經排(pai)(pai)污(wu)(wu)閥(fa)排(pai)(pai)出(chu),整個清(qing)(qing)洗(xi)(xi)排(pai)(pai)污(wu)(wu)過程可(ke)在(zai)過濾器工(gong)作中進行(xing),無(wu)需(xu)斷流(liu)(liu),不(bu)(bu)影響設(she)備的正常運行(xing),所以(yi)(yi),本產品(pin)特適用于(yu)24小時連續運行(xing)的不(bu)(bu)停(ting)機系統。
| 序號 | 部件名稱 | 材料名稱 | |||||
| 1 | 殼 體 | Q235B | 20# | S30408 | S30403 | S31608 | S31603 |
| 2 | 法 蘭 | Q235B | Q235B | S30408 | S30403 | S31608 | S31603 |
| 3 | 過 濾 網 | 304 | 304 | 304 | 304L | 316 | 316L |
| 4 | 刷 子 | 硬質塑料纖維、豬鬃毛、骨質尼龍、不銹鋼 | |||||
| 5 | 轉 動 軸 | Q235B | Q235B | S30408 | S30403 | S31608 | S31603 |
| 6 | 中部殼蓋 | Q235B | Q235B | S30408 | S30403 | S31608 | S31603 |
| 7 | 排 污 閥 | CF8 | CF8 | CF8 | CF3 | CF8M | CF3M |
| 公稱壓力PN(MPa) | 1.0 | 1.6 | 2.5 | 4.0 | 2.0 | 5.0 |
| 水壓試驗壓力(MPa) | 1.5 | 2.4 | 3.75 | 6.0 | 3.0 | 7.5 |
| 氣密性試驗壓力(MPa) | 1.1 | 1.76 | 2.75 | 4.4 | 2.2 | 5.5 |
| 設計制造 | GB/T 14382-2008、HG/T 21637-2021、SH/T 3411-2017 | |||||
| 法蘭標準 | JB/T 81、GB/T 9119、HG/T 20592、HG/T 20615、SH/T 3406、ASME B16.5等 | |||||
| 檢驗試驗 | GB/T 14382-2008、HG/T 21637-2021、SH/T 3411-2017 | |||||
| 濾網目數 | 5目 ~ 150目 | |||||
| 壓力損失 | ≤0.015MPa | |||||
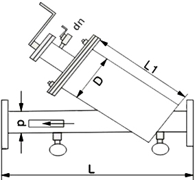
| 公稱壓力 PN | 公稱通徑 DN | 結構尺寸 | 流量 t/h | ||||
| d(mm) | D(mm) | L(mm) | L1(mm) | dn(in) | |||
| 10 ~ 25 20 (Class150) | 50 | 57 | 159 | 520 | 330 | ?" | ≤19 |
| 65 | 76 | 159 | 520 | 330 | ?" | ≤28 | |
| 80 | 89 | 159 | 550 | 350 | ?" | ≤50 | |
| 100 | 108 | 219 | 670 | 400 | ?" | ≤80 | |
| 125 | 133 | 219 | 690 | 420 | 1" | ≤125 | |
| 150 | 159 | 273 | 800 | 450 | 1 ?" | ≤180 | |
| 200 | 219 | 325 | 900 | 500 | 1 ?" | ≤320 | |
| 250 | 273 | 426 | 1200 | 580 | 1 ?" | ≤490 | |
| 300 | 325 | 426 | 1300 | 680 | 1 ?" | ≤710 | |
| 350 | 377 | 457 | 1530 | 740 | 2" | ≤970 | |
| 表中未列出的其他規格參數,請咨詢汗越閥門技術部! | |||||||

上一條:Y型電動刷式自清洗過濾器
下一條:5A雙相鋼Y型過濾器
