
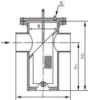
SRBIW籃式過濾器是一種(zhong)接口端面型式(shi)為(wei)對焊連接,適用于管道中(zhong)去除(chu)易(yi)(yi)燃、易(yi)(yi)爆(bao)、有(you)(you)(you)毒(du)介質中(zhong)的(de)(de)固(gu)體(ti)雜質的(de)(de)管道元件。它由(you)帶(dai)進(jin)出液口的(de)(de)筒體(ti)、蓋板(ban)和(he)濾(lv)(lv)(lv)籃(lan)等部件組成,蓋板(ban)通(tong)過(guo)多套螺(luo)栓結構擰(ning)緊固(gu)定到(dao)焊接在(zai)筒體(ti)頂(ding)端與之配套的(de)(de)連接法蘭上(shang),并(bing)在(zai)兩(liang)者接觸外圍(wei)設置有(you)(you)(you)密封圈,筒體(ti)內部呈45°角(jiao)度斜置焊裝有(you)(you)(you)橢圓環形隔離(li)板(ban),而由(you)帶(dai)提手的(de)(de)斜口型濾(lv)(lv)(lv)框和(he)密布有(you)(you)(you)過(guo)濾(lv)(lv)(lv)孔的(de)(de)濾(lv)(lv)(lv)網(wang)兩(liang)部分組成的(de)(de)濾(lv)(lv)(lv)籃(lan)則(ze)套裝在(zai)其上(shang),濾(lv)(lv)(lv)框頂(ding)部平(ping)面也為(wei)橢圓形,并(bing)與隔離(li)板(ban)呈相配合(he)的(de)(de)斜度,從而將(jiang)液體(ti)入(ru)口和(he)出口分隔開來,使得帶(dai)有(you)(you)(you)固(gu)體(ti)顆(ke)粒物的(de)(de)介質必(bi)須(xu)先由(you)進(jin)液口進(jin)入(ru)濾(lv)(lv)(lv)籃(lan)內經濾(lv)(lv)(lv)網(wang)過(guo)濾(lv)(lv)(lv)干凈后,才可從出液口流出。本(ben)產品按結構型式(shi)分為(wei)直通(tong)平(ping)底籃(lan)式(shi)過(guo)濾(lv)(lv)(lv)器和(he)直通(tong)封頭籃(lan)式(shi)過(guo)濾(lv)(lv)(lv)器兩(liang)種(zhong),對應型號為(wei)SRBI5、SRBIW和(he)SRBII5、SRBIIW。
| 序號 | 部件名稱 | 材料名稱 | |||||
| 1 | 筒 體 | 20# | Q345 | 304 | 304L | 316 | 316L |
| 2 | 接 管 | 20# | Q345 | 304 | 304L | 316 | 316L |
| 3 | 隔 離 板 | Q235B | Q345 | 304 | 304L | 316 | 316L |
| 4 | 筒體法蘭 | 20# | Q345 | 304 | 304L | 316 | 316L |
| 5 | 密封墊片 | 聚四氟乙烯、金屬環形墊、金屬纏繞墊(帶內外環) | |||||
| 6 | 蓋 板 | Q235B | Q345 | 304 | 304L | 316 | 316L |
| 7 | 濾 籃 | 304 | 304 | 304 | 304L | 316 | 316L |
| 8 | 底 板 | Q235B | Q345 | 304 | 304L | 316 | 316L |
| 9 | 排放螺塞 | 304 | 304 | 304 | 304L | 316 | 316L |
| 公稱壓力PN(MPa) | 1.0 | 1.6 | 2.5 | 4.0 | 2.0 | 5.0 |
| 水壓強度試驗壓力(MPa) | 1.5 | 2.4 | 3.75 | 6.0 | 3.0 | 7.5 |
| 氣密性試驗壓力(MPa) | 1.0 | 1.6 | 2.5 | 4.0 | 2.0 | 5.0 |
| 設計制造 | SH/T 3411-2017石油化工泵用過濾器選用、檢驗及驗收規范 | |||||
| 對焊端部 | 符合GB/T 12459、SH/T 3408、ASME B16.9、ANSI B16.9的規定 | |||||
| 檢驗試驗 | SH/T 3411-2017石油化工泵用過濾器選用、檢驗及驗收規范 | |||||
| 濾網規格 | 2目 ~ 600目 | |||||
| 公稱壓力 PN | 公稱通徑 DN | 結構尺寸/mm | 排放口 B | ||||
| ?1 | ? | L | H1 | H2 | |||
| 10 | 25 | 32 | 89 | 220 | 160 | 260 | R ? |
| 32 | 38 | 89 | 220 | 165 | 270 | R ? | |
| 40 | 45 | 114 | 280 | 180 | 300 | R ? | |
| 50 | 57 | 114 | 280 | 180 | 300 | R ? | |
| 65 | 76 | 140 | 330 | 220 | 350 | R ? | |
| 80 | 89 | 168 | 340 | 260 | 400 | R ? | |
| 100 | 108 | 219 | 420 | 310 | 470 | R ? | |
| 125 | 133 | 273 | 500 | 430 | 620 | R ? | |
| 150 | 159 | 273 | 500 | 430 | 620 | R ? | |
| 200 | 219 | 325 | 560 | 530 | 780 | R ? | |
| 250 | 273 | 426 | 660 | 640 | 930 | R ? | |
| 300 | 325 | 478 | 750 | 840 | 1200 | R ? | |
| 表中未列出的其他規格參數,請咨詢汗越閥門技術部! | |||||||

上一條:SRBIIIW籃式過濾器
下一條:2205籃式過濾器
