
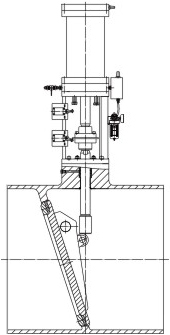
抽汽逆止閥主要用于電(dian)站(zhan)或(huo)熱(re)電(dian)廠抽汽(qi)(qi)(qi)(qi)系(xi)統(tong),防止(zhi)汽(qi)(qi)(qi)(qi)輪(lun)機(ji)(ji)組(zu)在突然甩負荷時,汽(qi)(qi)(qi)(qi)輪(lun)機(ji)(ji)內(nei)的壓力突然下(xia)降(jiang),抽汽(qi)(qi)(qi)(qi)管道和(he)各加熱(re)器內(nei)蒸汽(qi)(qi)(qi)(qi)倒流入(ru)汽(qi)(qi)(qi)(qi)輪(lun)機(ji)(ji)內(nei),造成汽(qi)(qi)(qi)(qi)輪(lun)葉片打碎,毀壞汽(qi)(qi)(qi)(qi)輪(lun)發電(dian)機(ji)(ji)的事(shi)故(gu),同時防止(zhi)加熱(re)器系(xi)統(tong)管道泄漏時,給(gei)(gei)水(shui)從抽汽(qi)(qi)(qi)(qi)管路進入(ru)汽(qi)(qi)(qi)(qi)輪(lun)機(ji)(ji)內(nei)而發生水(shui)擊事(shi)故(gu),以(yi)保障(zhang)汽(qi)(qi)(qi)(qi)輪(lun)機(ji)(ji)平安無事(shi),其(qi)作為防止(zhi)介質逆流的裝置(zhi),該閥(fa)能在0.5秒內(nei)快速(su)緊密的關閉,確保在給(gei)(gei)水(shui)加熱(re)器出現(xian)水(shui)位超高(gao)時,氣動裝置(zhi)部件接(jie)到(dao)液體逆流信號后,將(jiang)汽(qi)(qi)(qi)(qi)輪(lun)機(ji)(ji)迅(xun)速(su)隔開,給(gei)(gei)汽(qi)(qi)(qi)(qi)輪(lun)機(ji)(ji)或(huo)抽汽(qi)(qi)(qi)(qi)系(xi)統(tong)以(yi)保護。
抽汽(qi)(qi)逆(ni)止(zhi)(zhi)閥(fa)采用(yong)止(zhi)(zhi)回閥(fa)和(he)輔助快關(guan)(guan)執行機(ji)構(gou)為彈(dan)簧復位單作(zuo)用(yong)直行程氣動(dong)(dong)裝置相結(jie)合的(de)(de)結(jie)構(gou)型式,當汽(qi)(qi)輪機(ji)開(kai)始(shi)工作(zuo)時,壓縮(suo)空氣經過(guo)球閥(fa)進(jin)入二聯件處理,再通(tong)過(guo)二位三通(tong)電磁(ci)閥(fa)和(he)快排閥(fa)進(jin)入氣缸(gang)的(de)(de)下腔(qiang)(qiang),推(tui)動(dong)(dong)氣缸(gang)活塞(sai)(sai)向上移動(dong)(dong),壓縮(suo)彈(dan)簧并使(shi)其蓄能,閥(fa)瓣在(zai)管路介質的(de)(de)推(tui)動(dong)(dong)下開(kai)啟(qi),當系統故障時,電磁(ci)閥(fa)瞬間斷電而關(guan)(guan)閉,切(qie)斷氣源,快排閥(fa)快速打開(kai)排出氣缸(gang)下腔(qiang)(qiang)空氣,在(zai)彈(dan)簧力的(de)(de)作(zuo)用(yong)下活塞(sai)(sai)迅速下移,并通(tong)過(guo)閥(fa)桿推(tui)動(dong)(dong)閥(fa)瓣旋轉,幫助閥(fa)瓣以(yi)較快的(de)(de)速度(du)關(guan)(guan)閉,關(guan)(guan)閉時間不(bu)大于(yu)0.5秒。
| 序號 | 零件名稱 | 材料名稱 | ||||
| 1 | 閥 體 | WCB | WC1 | WC6 | WC9 | C12A |
| 2 | 閥 座 | 304 | 304 | 304 | 304 | 316 |
| 3 | 閥 瓣 | WCB | WC1 | WC6 | WC9 | C12A |
| 4 | 閥 軸 | 2Cr13 | 304 | 304 | 304 | 316 |
| 5 | 閥 桿 | 2Cr13 | 304 | 304 | 304 | 316 |
| 6 | 填料壓蓋 | WCB | WC1 | WC6 | WC9 | C12A |
| 7 | 填 料 | GRAPHITE | GRAPHITE | GRAPHITE | GRAPHITE | GRAPHITE |
| 8 | 氣 缸 | 20 | 20 | 20 | 20 | 20 |
| 9 | 彈 簧 | 60Si2Mn | 60Si2Mn | 60Si2Mn | 60Si2Mn | 60Si2Mn |
| 公稱壓力PN(MPa) | 1.0 | 1.6 | 2.5 | 4.0 | 6.3 |
| 殼體強度試驗壓力(MPa) | 1.5 | 2.4 | 3.75 | 6.0 | 9.45 |
| 液體高壓密封試驗壓力(MPa) | 1.1 | 1.76 | 2.75 | 4.4 | 6.93 |
| 氣體低壓密封試驗壓力(MPa) | 0.5~0.7 | 0.5~0.7 | 0.5~0.7 | 0.5~0.7 | 0.5~0.7 |
| 設計制造 | JB/T 12002、DL/T 1822、NB/T 47044、ASME B16.34 | ||||
| 結構長度 | GB/T 12221、DL/T 1822、ASME B16.10 | ||||
| 焊接連接 | GB/T 12224、DL/T 1822、NB/T 47044、ASME B16.25或按訂貨合同要求 | ||||
| 檢驗試驗 | GB/T 13927、NB/T 47044、API 598 | ||||

本產品執行機構也可選用液動,采用凝結水液壓驅動,關閉時間小于1s。如果你需訂購我廠電站閥系列產品(pin),咨詢時煩請說明(ming)閥(fa)門型號、閥(fa)體材質、公(gong)稱尺(chi)寸、公(gong)稱壓力、使(shi)用(yong)介質、工作(zuo)溫度、工作(zuo)壓力、連(lian)接端形式(焊接或(huo)法蘭等(deng))。
