
高溫高壓止回閥是種安裝于火(huo)力(li)(li)(li)發(fa)電站水、汽管道上,啟閉件借助(zhu)介(jie)質作(zuo)用(yong)力(li)(li)(li),自動(dong)(dong)阻(zu)(zu)止(zhi)流(liu)(liu)(liu)(liu)體回流(liu)(liu)(liu)(liu)的(de)(de)(de)閥門(men),其閥瓣(ban)(ban)呈圓盤狀,繞閥座通道外的(de)(de)(de)銷軸做(zuo)旋(xuan)轉運動(dong)(dong)來(lai)實現閥門(men)的(de)(de)(de)開(kai)啟與(yu)關閉,當流(liu)(liu)(liu)(liu)體按規定方向(xiang)流(liu)(liu)(liu)(liu)動(dong)(dong)時,閥瓣(ban)(ban)受流(liu)(liu)(liu)(liu)動(dong)(dong)介(jie)質力(li)(li)(li)的(de)(de)(de)作(zuo)用(yong)使閥瓣(ban)(ban)打(da)開(kai),流(liu)(liu)(liu)(liu)體從(cong)入口側流(liu)(liu)(liu)(liu)向(xiang)出口側,當入口側壓(ya)(ya)(ya)力(li)(li)(li)低于出口側壓(ya)(ya)(ya)力(li)(li)(li)時,流(liu)(liu)(liu)(liu)動(dong)(dong)介(jie)質要(yao)(yao)逆(ni)向(xiang)流(liu)(liu)(liu)(liu)動(dong)(dong)時,閥瓣(ban)(ban)在(zai)所(suo)受流(liu)(liu)(liu)(liu)體反(fan)向(xiang)作(zuo)用(yong)力(li)(li)(li)和閥瓣(ban)(ban)自重(zhong)的(de)(de)(de)作(zuo)用(yong)下,與(yu)閥座的(de)(de)(de)密(mi)封面自動(dong)(dong)閉合,達到阻(zu)(zu)止(zhi)流(liu)(liu)(liu)(liu)體逆(ni)流(liu)(liu)(liu)(liu)的(de)(de)(de)目的(de)(de)(de)。該(gai)閥閥體中腔通常采用(yong)內(nei)壓(ya)(ya)(ya)自密(mi)封結(jie)構,它利用(yong)介(jie)質的(de)(de)(de)壓(ya)(ya)(ya)力(li)(li)(li),使閥體與(yu)閥蓋連(lian)接處實現自動(dong)(dong)密(mi)封。本(ben)產品閥內(nei)通道成流(liu)(liu)(liu)(liu)線型,流(liu)(liu)(liu)(liu)動(dong)(dong)阻(zu)(zu)力(li)(li)(li)相(xiang)比(bi)較小,特適(shi)合用(yong)在(zai)高壓(ya)(ya)(ya)大(da)口徑的(de)(de)(de)管道,因此被廣泛應用(yong)于火(huo)電廠主給水管道,防止(zhi)介(jie)質倒流(liu)(liu)(liu)(liu),對(dui)保(bao)護水泵等主機(ji)設備起著相(xiang)當重(zhong)要(yao)(yao)的(de)(de)(de)作(zuo)用(yong)。
| 序號 | 部件名稱 | 材料名稱 | |||||
| 1 | 閥 體 | A217 WC6 | A217 WC9 | A217 C12A | ZG20CrMoV | ZG15Cr1Mo1V | 12Cr1MoV |
| 2 | 閥 座 | A182 F11 | A182 F22 | A182 F91 | 12Cr1MoV | 15Cr1Mo1V | 12Cr1MoV |
| 3 | 閥 瓣 | A217 WC6 | A217 WC9 | A217 C12A | ZG20CrMoV | ZG15Cr1Mo1V | 12Cr1MoV |
| 4 | 搖 桿 | A217 WC6 | A217 WC9 | A217 C12A | ZG20CrMoV | ZG15Cr1Mo1V | 12Cr1MoV |
| 5 | 銷 軸 | A182 F11 | A182 F22 | A182 F91 | 12Cr1MoV | 15Cr1Mo1V | 12Cr1MoV |
| 6 | 閥 蓋 | A217 WC6 | A217 WC9 | A217 C12A | ZG20CrMoV | ZG15Cr1Mo1V | 12Cr1MoV |
| 7 | 密 封 圈 | GRAPHITE | GRAPHITE | GRAPHITE | GRAPHITE | GRAPHITE | GRAPHITE |
| 8 | 螺 栓 | A193 B16 | A193 B16 | A193 B16 | 25Cr2Mo1VA | 25Cr2Mo1VA | 25Cr2Mo1VA |
| 9 | 螺 母 | A194 16 | A194 16 | A194 16 | 25Cr2Mo1VA | 25Cr2Mo1VA | 25Cr2Mo1VA |
| 公稱壓力PN(MPa) | 20.0 | 25.0 | 32.0 | — | — | — |
| 工作壓力(MPa) | — | — | — | 10.0 | 14.0 | 17.0 |
| 工作溫度(℃) | — | — | — | 540 | 540 | 540 |
| 水壓強度試驗壓力(MPa) | 30.0 | 37.5 | 48.0 | 30.0 | 40.0 | 48.0 |
| 水壓密封試驗壓力(MPa) | 20.0 | 25.0 | 32.0 | 12.5 | 17.5 | 21.3 |
| 氣密封試驗壓力(MPa) | 0.4~0.7 | 0.4~0.7 | 0.4~0.7 | 0.4~0.7 | 0.4~0.7 | 0.4~0.7 |
| 設計制造 | NB/T 47044、ASME B16.34、JIS E-101 | |||||
| 結構長度 | GB/T 12221、ASME B16.10、JIS E-101 | |||||
| 連接端部 | NB/T 47044、ASME B16.25或按訂貨合同要求 | |||||
| 檢驗試驗 | NB/T 47044、API 598、JIS E-101 | |||||
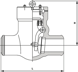
| 公稱壓力 PN | 公稱尺寸 DN | 外形尺寸/mm | 公稱壓力 PN | 公稱尺寸 DN | 外形尺寸/mm | ||
| L | H | L | H | ||||
| 200 ~ 320 | 65 | 330 | 223 | 200 ~ 320 | 225 | 750 | 445 |
| 80 | 368 | 249 | 250 | 800 | 502 | ||
| 100 | 457 | 279 | 300 | 1041 | 550 | ||
| 125 | 483 | 284 | 350 | 1118 | 707 | ||
| 150 | 559 | 350 | 400 | 1245 | 734 | ||
| 175 | 600 | 366 | 500 | 1397 | 997 | ||
| 200 | 650 | 414 | 600 | 1459 | 1000 | ||
| 表中未列出的其他規格參數,請咨詢汗越閥門技術部! | |||||||

