
電站旋啟式止回閥是一(yi)種安(an)裝(zhuang)在火電機組主給水管(guan)道(dao)上(shang),作為防止介質(zhi)(zhi)逆流(liu)(liu)的(de)(de)(de)裝(zhuang)置(zhi),其依靠(kao)介質(zhi)(zhi)的(de)(de)(de)流(liu)(liu)動(dong)推力使(shi)閥(fa)(fa)(fa)瓣(ban)(ban)沿閥(fa)(fa)(fa)體(ti)(ti)內(nei)部的(de)(de)(de)銷(xiao)軸(zhou)進(jin)行(xing)旋(xuan)轉,達到(dao)開啟或關閉的(de)(de)(de)目的(de)(de)(de)。該閥(fa)(fa)(fa)閥(fa)(fa)(fa)瓣(ban)(ban)一(yi)般為圓形,并位于(yu)銷(xiao)軸(zhou)的(de)(de)(de)下(xia)方,當管(guan)道(dao)內(nei)流(liu)(liu)體(ti)(ti)按照指定的(de)(de)(de)方向(xiang)流(liu)(liu)入(ru)時(shi),閥(fa)(fa)(fa)瓣(ban)(ban)的(de)(de)(de)進(jin)口壓(ya)(ya)(ya)(ya)(ya)(ya)力高于(yu)出口壓(ya)(ya)(ya)(ya)(ya)(ya)力,此(ci)時(shi)閥(fa)(fa)(fa)瓣(ban)(ban)會被介質(zhi)(zhi)推起(qi),離開閥(fa)(fa)(fa)座并繞銷(xiao)軸(zhou)轉動(dong)某一(yi)位置(zhi),閥(fa)(fa)(fa)門(men)處于(yu)全開狀(zhuang)態(tai);當閥(fa)(fa)(fa)瓣(ban)(ban)兩側的(de)(de)(de)壓(ya)(ya)(ya)(ya)(ya)(ya)差減小(xiao)(xiao)到(dao)一(yi)定時(shi),閥(fa)(fa)(fa)瓣(ban)(ban)自(zi)由下(xia)落(luo),從而回到(dao)關閉狀(zhuang)態(tai);當管(guan)道(dao)內(nei)介質(zhi)(zhi)反向(xiang)流(liu)(liu)動(dong)時(shi),閥(fa)(fa)(fa)瓣(ban)(ban)兩側壓(ya)(ya)(ya)(ya)(ya)(ya)差產生的(de)(de)(de)作用力將閥(fa)(fa)(fa)瓣(ban)(ban)壓(ya)(ya)(ya)(ya)(ya)(ya)緊在閥(fa)(fa)(fa)座上(shang),導(dao)致流(liu)(liu)體(ti)(ti)介質(zhi)(zhi)無法(fa)通過(guo),介質(zhi)(zhi)壓(ya)(ya)(ya)(ya)(ya)(ya)力越(yue)(yue)大,密(mi)封面壓(ya)(ya)(ya)(ya)(ya)(ya)得(de)越(yue)(yue)緊,密(mi)封性能越(yue)(yue)好。本產品具有啟閉速度快,承(cheng)受壓(ya)(ya)(ya)(ya)(ya)(ya)力高,介質(zhi)(zhi)流(liu)(liu)通順利,流(liu)(liu)體(ti)(ti)阻力小(xiao)(xiao)等特點,因此(ci)被廣泛應用于(yu)火力發電廠高溫高壓(ya)(ya)(ya)(ya)(ya)(ya)介質(zhi)(zhi)及流(liu)(liu)速和壓(ya)(ya)(ya)(ya)(ya)(ya)力較平穩的(de)(de)(de)大口徑管(guan)道(dao)系(xi)統中(zhong)。
| 序號 | 零件名稱 | 材料名稱 | |||||
| 1 | 閥 體 | A216 WCB | A217 WC1 | A217 WC6 | A217 WC9 | A217 C12A | A351 CF8C |
| 2 | 閥 蓋 | A216 WCB | A217 WC1 | A217 WC6 | A217 WC9 | A217 C12A | A351 CF8C |
| 3 | 銷 軸 | A105 | A182 F11 | A182 F11 | A182 F22 | A182 F91 | A182 F347 |
| 4 | 搖 桿 | A216 WCB | A217 WC1 | A217 WC6 | A217 WC9 | A217 C12A | A351 CF8C |
| 5 | 閥 瓣 | A105 | A182 F11 | A182 F11 | A182 F22 | A182 F91 | A182 F347 |
| 6 | 閥 座 | A105 | A182 F11 | A182 F11 | A182 F22 | A182 F91 | A182 F347 |
| 7 | 密 封 圈 | GRAPHITE | GRAPHITE | GRAPHITE | GRAPHITE | GRAPHITE | GRAPHITE |
| 8 | 螺 栓 | A193 B7 | A193 B16 | A193 B16 | A193 B16 | A193 B16 | A193 B8 |
| 9 | 螺 母 | A194 2H | A194 16 | A194 16 | A194 16 | A194 16 | A194 8 |
| 公稱壓力PN(MPa) | 10.0 | 16.0 | 20.0 | 25.0 | 32.0 | 40.0 |
| 殼體強度試驗壓力(MPa) | 15.0 | 24.0 | 30.0 | 37.5 | 48.0 | 60.0 |
| 水壓密封試驗壓力(MPa) | 11.0 | 17.6 | 22.0 | 27.5 | 35.2 | 44.0 |
| 氣密封試驗壓力(MPa) | 0.5~0.7 | 0.5~0.7 | 0.5~0.7 | 0.5~0.7 | 0.5~0.7 | 0.5~0.7 |
| 設計制造 | NB/T 47044、ASME B16.34、JIS E-101 | |||||
| 結構長度 | GB/T 12221、ASME B16.10、JIS E-101 | |||||
| 法蘭尺寸 | JB/T 79、GB/T 9124.1、HG/T 20592、SH/T 3406、ASME B16.5等 | |||||
| 檢驗試驗 | NB/T 47044、API 598、JIS E-101 | |||||
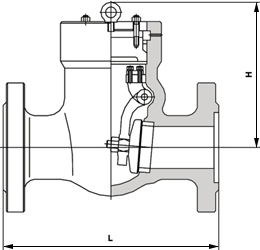
| 公稱壓力 PN | 公稱通徑 DN | 外形尺寸/mm | 公稱壓力 PN | 公稱通徑 DN | 外形尺寸/mm | ||
| L | H | L | H | ||||
| 100 | 50 | 300 | 210 | 160 | 50 | 300 | 220 |
| 65 | 340 | 230 | 65 | 340 | 260 | ||
| 80 | 380 | 255 | 80 | 380 | 270 | ||
| 100 | 430 | 295 | 100 | 430 | 330 | ||
| 125 | 500 | 330 | 125 | 500 | 390 | ||
| 150 | 550 | 365 | 150 | 550 | 430 | ||
| 200 | 650 | 420 | 200 | 650 | 510 | ||
| 250 | 775 | 505 | 250 | 750 | 514 | ||
| 表中未列出的其他規格參數,請咨詢汗越閥門技術部! | |||||||

如果你需訂購我廠電站閥系列產(chan)品,咨詢時煩請說明(ming)公(gong)稱通徑、公(gong)稱壓力、材(cai)質(zhi)、使用(yong)介質(zhi)、工作(zuo)溫度、法蘭執行標(biao)準及(ji)密封面形式等,我廠可按客戶需求承接定(ding)制,本產(chan)品有國標(biao)和美(mei)標(biao)兩(liang)種。
