
電站抽汽止回閥是種適用于(yu)公稱壓力小于(yu)或等(deng)于(yu)PN420,使用溫(wen)度不大(da)于(yu)570℃的火力發(fa)(fa)電廠汽(qi)(qi)(qi)(qi)(qi)輪(lun)(lun)(lun)機(ji)抽汽(qi)(qi)(qi)(qi)(qi)系統用抽汽(qi)(qi)(qi)(qi)(qi)止(zhi)回(hui)(hui)閥(fa)(fa)(fa),其(qi)具(ju)有(you)(you)閥(fa)(fa)(fa)瓣自由關閉和氣(qi)動(dong)(dong)裝(zhuang)置輔(fu)助(zhu)(zhu)閥(fa)(fa)(fa)門(men)快(kuai)速關閉的雙重(zhong)(zhong)逆流(liu)保護功能(neng),氣(qi)動(dong)(dong)開啟(qi)狀態下,閥(fa)(fa)(fa)瓣可(ke)在(zai)(zai)(zai)介質(zhi)作(zuo)用下自由啟(qi)閉,在(zai)(zai)(zai)電磁(ci)閥(fa)(fa)(fa)失(shi)電、氣(qi)路失(shi)氣(qi)的非(fei)正常狀態下,氣(qi)缸輔(fu)助(zhu)(zhu)閥(fa)(fa)(fa)門(men)快(kuai)速關閉,關閉時(shi)(shi)間不大(da)于(yu)0.5s。該閥(fa)(fa)(fa)通(tong)(tong)常安裝(zhuang)在(zai)(zai)(zai)汽(qi)(qi)(qi)(qi)(qi)輪(lun)(lun)(lun)機(ji)的抽汽(qi)(qi)(qi)(qi)(qi)管道上,用來防止(zhi)介質(zhi)倒(dao)流(liu)損壞汽(qi)(qi)(qi)(qi)(qi)輪(lun)(lun)(lun)機(ji)組,汽(qi)(qi)(qi)(qi)(qi)輪(lun)(lun)(lun)機(ji)運行(xing)時(shi)(shi),當(dang)負(fu)荷下降到(dao)相應數值后或發(fa)(fa)生緊(jin)急(ji)停(ting)機(ji)時(shi)(shi),它(ta)能(neng)快(kuai)速切斷汽(qi)(qi)(qi)(qi)(qi)輪(lun)(lun)(lun)機(ji)與(yu)抽汽(qi)(qi)(qi)(qi)(qi)管路的通(tong)(tong)道,以防止(zhi)蒸汽(qi)(qi)(qi)(qi)(qi)通(tong)(tong)過抽汽(qi)(qi)(qi)(qi)(qi)管道回(hui)(hui)流(liu)到(dao)汽(qi)(qi)(qi)(qi)(qi)輪(lun)(lun)(lun)機(ji)中(zhong),否則將引起轉(zhuan)速非(fei)正常飛升或汽(qi)(qi)(qi)(qi)(qi)輪(lun)(lun)(lun)機(ji)內部(bu)(bu)受熱(re)部(bu)(bu)件溫(wen)度的急(ji)劇變化。本產品有(you)(you)執行(xing)機(ji)構側裝(zhuang)和頂裝(zhuang)兩種,其(qi)中(zhong)側置氣(qi)動(dong)(dong)蓄能(neng)旋啟(qi)式抽汽(qi)(qi)(qi)(qi)(qi)止(zhi)回(hui)(hui)閥(fa)(fa)(fa)口徑較大(da)時(shi)(shi),可(ke)根據用戶(hu)需要,設計重(zhong)(zhong)錘(chui),用以平衡閥(fa)(fa)(fa)瓣組件重(zhong)(zhong)力矩,當(dang)介質(zhi)正向流(liu)動(dong)(dong)時(shi)(shi),幫助(zhu)(zhu)打開閥(fa)(fa)(fa),并在(zai)(zai)(zai)運行(xing)中(zhong)保持閥(fa)(fa)(fa)平穩,減少振(zhen)動(dong)(dong)。
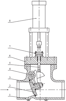
| 序號 | 部件名稱 | 材料名稱 | |||||
| 1 | 閥 體 | WCB | WC1 | WC6 | WC9 | C12A | ZG20CrMoV |
| 2 | 閥 瓣 | WCB | WC1 | WC6 | WC9 | C12A | ZG20CrMoV |
| 3 | 搖 桿 | WCB | WC1 | WC6 | WC9 | C12A | ZG20CrMoV |
| 4 | 搖 桿 軸 | 2Cr13 | 304 | 304 | 304 | 316 | 304 |
| 5 | 閥 桿 | 2Cr13 | 304 | 304 | 304 | 316 | 304 |
| 6 | 閥 蓋 | WCB | WC1 | WC6 | WC9 | C12A | ZG20CrMoV |
| 7 | 填料壓蓋 | WCB | WC1 | WC6 | WC9 | C12A | ZG20CrMoV |
| 8 | 氣 缸 | 20 | 20 | 20 | 20 | 20 | 20 |
| 公稱壓力PN(MPa) | 1.6 | 2.5 | 4.0 | 6.3 | 10.0 | 16.0 |
| 殼體強度試驗壓力(MPa) | 2.4 | 3.75 | 6.0 | 9.45 | 15.0 | 24.0 |
| 液體高壓密封試驗壓力(MPa) | 1.76 | 2.75 | 4.4 | 6.93 | 11.0 | 17.6 |
| 氣體低壓密封試驗壓力(MPa) | 0.5~0.7 | 0.5~0.7 | 0.5~0.7 | 0.5~0.7 | 0.5~0.7 | 0.5~0.7 |
| 設計制造 | JB/T 12002、DL/T 1822、NB/T 47044、ASME B16.34 | |||||
| 結構長度 | GB/T 12221、DL/T 1822、ASME B16.10 | |||||
| 焊接坡口 | GB/T 12224、DL/T 1822、NB/T 47044、ASME B16.25或按訂貨合同要求 | |||||
| 檢驗試驗 | GB/T 13927、NB/T 47044、API 598 | |||||

如果你需訂購我廠電站閥系列(lie)產(chan)(chan)品(pin)(pin),咨詢時煩請說明產(chan)(chan)品(pin)(pin)名稱、公(gong)稱通(tong)徑、公(gong)稱壓(ya)力(li)、承壓(ya)件材(cai)質、介質溫度(du)、端部連(lian)接(jie)型式(對焊(han)、法蘭等),本產(chan)(chan)品(pin)(pin)氣缸工作(zuo)壓(ya)力(li)按(an)0.5~0.7MPa設(she)計,系統氣源壓(ya)力(li)過低時,亦(yi)可造成此閥不能(neng)全開啟。
