
高溫高壓電站止回閥是一種閥(fa)瓣(ban)(ban)(ban)沿(yan)著閥(fa)座(zuo)軸線作(zuo)升(sheng)降運動,適(shi)用(yong)于火(huo)力(li)(li)(li)(li)發電廠(chang)主(zhu)給水系統管道上(shang),自動阻止介(jie)(jie)(jie)(jie)(jie)質(zhi)(zhi)到流,對水泵(beng)等主(zhu)機(ji)設(she)備正常運行(xing)起(qi)保護作(zuo)用(yong)的裝(zhuang)置,其依靠介(jie)(jie)(jie)(jie)(jie)質(zhi)(zhi)的壓力(li)(li)(li)(li)頂開(kai)閥(fa)瓣(ban)(ban)(ban)而(er)導(dao)通,無介(jie)(jie)(jie)(jie)(jie)質(zhi)(zhi)壓力(li)(li)(li)(li)作(zuo)用(yong)時(shi)或(huo)流體反(fan)向(xiang)流動時(shi),閥(fa)瓣(ban)(ban)(ban)在(zai)自身重力(li)(li)(li)(li)以及彈簧力(li)(li)(li)(li)作(zuo)用(yong)下,迅速回(hui)座(zuo)與(yu)閥(fa)座(zuo)緊密吻合而(er)實現(xian)密封,以截斷回(hui)流。該閥(fa)閥(fa)體與(yu)閥(fa)蓋(gai)的連(lian)接一般采用(yong)內(nei)壓自緊式密封結構,在(zai)介(jie)(jie)(jie)(jie)(jie)質(zhi)(zhi)壓力(li)(li)(li)(li)作(zuo)用(yong)下,能達到可靠密封,并(bing)在(zai)閥(fa)蓋(gai)導(dao)向(xiang)套(tao)筒側部(bu)或(huo)閥(fa)瓣(ban)(ban)(ban)導(dao)向(xiang)筒側部(bu)加(jia)工有泄(xie)壓孔(kong),當閥(fa)瓣(ban)(ban)(ban)上(shang)升(sheng)時(shi),通過泄(xie)壓孔(kong)排(pai)出套(tao)筒內(nei)的介(jie)(jie)(jie)(jie)(jie)質(zhi)(zhi),以減小閥(fa)瓣(ban)(ban)(ban)開(kai)啟(qi)時(shi)的阻力(li)(li)(li)(li)。本產品通常水平安裝(zhuang)在(zai)水泵(beng)機(ji)組(zu)的后(hou)面,防止機(ji)組(zu)非正常停(ting)車導(dao)致(zhi)介(jie)(jie)(jie)(jie)(jie)質(zhi)(zhi)倒流而(er)使機(ji)組(zu)反(fan)轉,具有結構簡單,密封性能好,啟(qi)閉速度快,耐高溫高壓等特點。
| 序號 | 部件名稱 | 材料名稱 | |||||
| 1 | 閥 體 | A216 WCB | A217 WC6 | A217 WC9 | A217 C12A | ZG20CrMoV | ZG15Cr1Mo1V |
| 2 | 閥 座 | A105 | A182 F11 | A182 F22 | A182 F91 | 12Cr1MoV | 15Cr1Mo1V |
| 3 | 閥 瓣 | A105 | A182 F11 | A182 F22 | A182 F91 | 12Cr1MoV | 15Cr1Mo1V |
| 4 | 閥 蓋 | A105 | A182 F11 | A182 F22 | A182 F91 | 12Cr1MoV | 15Cr1Mo1V |
| 5 | 壓 環 | A182 F6a | A182 F11 | A182 F22 | A182 F91 | 12Cr1MoV | 15Cr1Mo1V |
| 6 | 四 開 環 | A182 F6a | A182 F11 | A182 F22 | A182 F91 | 12Cr1MoV | 15Cr1Mo1V |
| 7 | 密 封 圈 | A182 F304 | A182 F304 | A182 F304 | A182 F316 | A182 F316 | A182 F316 |
| 8 | 螺 栓 | A193 B7 | A193 B16 | A193 B16 | A193 B16 | 25Cr2Mo1VA | 25Cr2Mo1VA |
| 9 | 螺 母 | A194 2H | A194 16 | A194 16 | A194 16 | 25Cr2Mo1VA | 25Cr2Mo1VA |
| 公稱壓力PN(MPa) | 20.0 | 25.0 | 32.0 | — | — | — |
| 工作壓力(MPa) | — | — | — | 10.0 | 14.0 | 17.0 |
| 工作溫度(℃) | — | — | — | 540 | 540 | 540 |
| 殼體水壓試驗壓力(MPa) | 30.0 | 37.5 | 48.0 | 30.0 | 40.0 | 48.0 |
| 密封水壓試驗壓力(MPa) | 22.0 | 27.5 | 35.2 | 12.5 | 17.5 | 21.3 |
| 氣密封試驗壓力(MPa) | 0.5~0.7 | 0.5~0.7 | 0.5~0.7 | 0.5~0.7 | 0.5~0.7 | 0.5~0.7 |
| 設計制造 | NB/T 47044、ASME B16.34、JIS E-101 | |||||
| 結構長度 | GB/T 12221、ASME B16.10、JIS E-101 | |||||
| 焊接坡口 | NB/T 47044、ASME B16.25或按訂貨合同要求 | |||||
| 檢驗試驗 | NB/T 47044、API 598、JIS E-101 | |||||
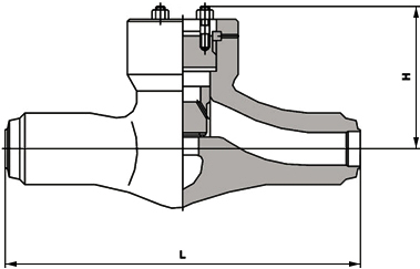
| 公稱壓力 PN | 公稱通徑 DN | 外形尺寸/mm | 公稱壓力 PN | 公稱通徑 DN | 外形尺寸/mm | ||
| L | H | L | H | ||||
| 250 | 10 | 120 | 155 | 320 | 10 | 120 | 155 |
| 15 | 170 | 200 | 15 | 170 | 200 | ||
| 20 | 170 | 210 | 20 | 170 | 210 | ||
| 25 | 170 | 210 | 25 | 170 | 210 | ||
| 32 | 200 | 245 | 32 | 200 | 245 | ||
| 40 | 230 | 270 | 40 | 230 | 270 | ||
| 50 | 350 | 300 | 50 | 350 | 300 | ||
| 65 | 326 | 410 | 65 | 326 | 410 | ||
| 80 | 470 | 370 | 80 | 470 | 370 | ||
| 100 | 560 | 420 | 100 | 560 | 420 | ||
| 表中未列出的其他規格參數,請咨詢汗越閥門技術部! | |||||||

如果你需訂購我廠電站閥系列(lie)產品,咨(zi)詢時煩請說明公稱通徑(jing)、公稱壓力、殼體材質(zhi)、使用介質(zhi)、工作溫度等,我廠可按客戶需求承接(jie)定制,本產品有兩種,一種是設(she)計(ji)制造符合(he)ASME B16.34和JIS E-101的規定,另種為(wei)采用NB/T 47044標準。
