
堵閥是(shi)一(yi)種(zhong)由堵板(ban)和(he)導(dao)流(liu)(liu)套可(ke)(ke)互換的(de)(de)既可(ke)(ke)用(yong)于(yu)水壓(ya)(ya)試(shi)(shi)驗(yan)(yan)又可(ke)(ke)作為(wei)管道使用(yong)的(de)(de)雙功(gong)能裝(zhuang)置,其通常(chang)安(an)裝(zhuang)在(zai)(zai)電(dian)站(zhan)鍋爐(lu)過熱器出(chu)(chu)口(kou)(kou)和(he)再熱器進、出(chu)(chu)口(kou)(kou)的(de)(de)蒸汽管道上,當(dang)機組(zu)整體水壓(ya)(ya)試(shi)(shi)驗(yan)(yan)時(shi),將隔離組(zu)件(jian)裝(zhuang)入(ru)(ru)閥(fa)(fa)體內,擰緊壓(ya)(ya)板(ban)上的(de)(de)預(yu)緊螺釘,使堵板(ban)、O形圈(quan)與密封(feng)(feng)(feng)面之間產生(sheng)相應的(de)(de)初始密封(feng)(feng)(feng)比壓(ya)(ya),阻擋(dang)介(jie)(jie)質流(liu)(liu)向出(chu)(chu)口(kou)(kou)側,隨著(zhu)試(shi)(shi)壓(ya)(ya)介(jie)(jie)質的(de)(de)壓(ya)(ya)力逐漸(jian)升高(gao)到要求(qiu)值,在(zai)(zai)介(jie)(jie)質作用(yong)力下,閥(fa)(fa)門可(ke)(ke)達到可(ke)(ke)靠的(de)(de)密封(feng)(feng)(feng),而且介(jie)(jie)質壓(ya)(ya)力越大,密封(feng)(feng)(feng)性能越好,水壓(ya)(ya)試(shi)(shi)驗(yan)(yan)結束后,取出(chu)(chu)隔離組(zu)件(jian),并將導(dao)流(liu)(liu)套裝(zhuang)入(ru)(ru)閥(fa)(fa)內,以保護閥(fa)(fa)座密封(feng)(feng)(feng)面和(he)減小流(liu)(liu)阻,此時(shi)該閥(fa)(fa)作為(wei)管道使用(yong),下次水壓(ya)(ya)試(shi)(shi)驗(yan)(yan)時(shi)則(ze)取出(chu)(chu)導(dao)流(liu)(liu)套,再裝(zhuang)入(ru)(ru)堵板(ban)。本產品的(de)(de)出(chu)(chu)、入(ru)(ru)口(kou)(kou)端與配管均采用(yong)焊(han)接(jie)形式連接(jie)安(an)裝(zhuang),必要時(shi)可(ke)(ke)通過過度(du)管來(lai)實現閥(fa)(fa)門與配管材質的(de)(de)可(ke)(ke)焊(han)性。
| 序號 | 部件名稱 | 材料名稱 | |||||
| 1 | 閥 體 | A216 WCB | A217 WC6 | A217 WC9 | ZG20CrMo | ZG20CrMoV | ZG15Cr1Mo1V |
| 2 | 堵 板 | Q235-B | Q235-B | Q235-B | Q235-B | Q235-B | Q235-B |
| 3 | 閥 蓋 | A216 WCB | A217 WC6 | A217 WC9 | ZG20CrMo | ZG20CrMoV | ZG15Cr1Mo1V |
| 4 | 密 封 圈 | GRAPHITE | GRAPHITE | GRAPHITE | GRAPHITE | GRAPHITE | GRAPHITE |
| 5 | 四 開 環 | A182 F6a CL.2 | A182 F11 | A182 F22 | 15CrMo | 12Cr1MoV | 15Cr1Mo1V |
| 6 | 蓋 板 | A105 | A182 F11 | A182 F22 | 15CrMo | 12Cr1MoV | 15Cr1Mo1V |
| 7 | 導 流 套 | A216 WCB | A217 WC6 | A217 WC9 | ZG20CrMo | ZG20CrMoV | ZG15Cr1Mo1V |
| 8 | 螺 柱 | A193 B7 | A193 B16 | A193 B16 | 35CrMoA | 25Cr2Mo1VA | 25Cr2Mo1VA |
| 9 | 螺 母 | A194 2H | A194 16 | A194 16 | 35CrMoA | 25Cr2Mo1VA | 25Cr2Mo1VA |
| 公稱壓力PN(MPa) | 20.0 | 25.0 | 32.0 | — | — | — |
| 工作壓力(MPa) | — | — | — | 10.0 | 14.0 | 17.0 |
| 工作溫度(℃) | — | — | — | 540 | 540 | 540 |
| 殼體水壓試驗壓力(MPa) | 30.0 | 37.5 | 48.0 | 30.0 | 40.0 | 48.0 |
| 密封水壓試驗壓力(MPa) | 22.0 | 27.5 | 35.2 | 12.5 | 17.5 | 21.3 |
| 氣密封試驗壓力(MPa) | 0.5~0.7 | 0.5~0.7 | 0.5~0.7 | 0.5~0.7 | 0.5~0.7 | 0.5~0.7 |
| 設計制造 | GB/T 29462-2012 電站堵閥 | |||||
| 結構長度 | GB/T 29462或符合我廠與用戶協商確定的其他尺寸 | |||||
| 對焊連接 | NB/T 47044或按訂貨合同要求 | |||||
| 檢驗試驗 | GB/T 29462-2012 電站堵閥 | |||||
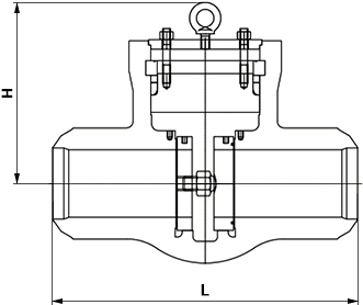
| 公稱壓力 PN | 公稱尺寸 DN | 外形尺寸/mm | 公稱壓力 PN | 公稱尺寸 DN | 外形尺寸/mm | ||
| L | H | L | H | ||||
| 63 ~ 100 | 100 | 350 | — | 63 ~ 100 | 450 | 1100 | — |
| 125 | 400 | — | 500 | 1100 | — | ||
| 150 | 450 | — | 550 | 1100 | — | ||
| 175 | 500 | — | 600 | 1150 | — | ||
| 200 | 550 | — | 650 | 1350 | — | ||
| 225 | 600 | — | 700 | 1500 | — | ||
| 250 | 650 | — | 750 | 1600 | — | ||
| 275 | 700 | — | 800 | 1600 | — | ||
| 300 | 750 | — | 850 | 1750 | — | ||
| 350 | 850 | — | 900 | 1800 | — | ||
| 400 | 900 | — | 1000 | 2000 | — | ||
| 以上尺寸僅供參考,表中未列出的其他規格參數,請咨詢汗越閥門技術部! | |||||||

如果你需訂購我廠電站閥系列產(chan)品,咨詢(xun)時煩(fan)請說明公稱通(tong)徑、壓力等級、材(cai)質(zhi)、使用介質(zhi)及工作溫(wen)度(du)等,我廠可(ke)按客戶需求承接定(ding)制,本產(chan)品出廠時堵(du)板(ban)或導(dao)(dao)流(liu)套均(jun)未裝入,堵(du)板(ban)、導(dao)(dao)流(liu)套作為(wei)附件另外裝箱(xiang)隨閥一起發往目(mu)的地。
