
抽氣止回閥是一種用于大型火(huo)電(dian)(dian)機(ji)組汽輪(lun)(lun)(lun)機(ji)抽汽系統,防止蒸汽倒流(liu)(liu)或(huo)事故狀態(tai)高壓(ya)給水反流(liu)(liu)到(dao)汽輪(lun)(lun)(lun)機(ji),對汽機(ji)、水泵等(deng)重要(yao)設備(bei)起到(dao)保(bao)護作用的閥(fa)(fa)門,其能在管道介(jie)(jie)質(zhi)逆流(liu)(liu)、斷電(dian)(dian)、事故等(deng)非正(zheng)(zheng)常狀態(tai)下(xia)瞬(shun)間關閉(bi)。該閥(fa)(fa)快(kuai)關功能一般(ban)通過在閥(fa)(fa)體(ti)外部安裝(zhuang)彈(dan)簧復位單作用直行程氣(qi)動(dong)執行機(ji)構(gou)實現,汽輪(lun)(lun)(lun)機(ji)正(zheng)(zheng)常工作時,壓(ya)力(li)為0.5~0.7MPa的氣(qi)源經球閥(fa)(fa)進(jin)入(ru)二(er)聯(lian)件處理,再(zai)進(jin)入(ru)電(dian)(dian)磁(ci)閥(fa)(fa),然后經快(kuai)排(pai)閥(fa)(fa)進(jin)入(ru)氣(qi)缸進(jin)氣(qi)口,推動(dong)缸內彈(dan)簧壓(ya)縮蓄能,此時閥(fa)(fa)瓣(ban)在介(jie)(jie)質(zhi)作用下(xia)可以自由啟閉(bi),當(dang)接受到(dao)事故信號(hao)時,電(dian)(dian)磁(ci)閥(fa)(fa)失電(dian)(dian),氣(qi)源切斷,快(kuai)排(pai)閥(fa)(fa)在氣(qi)缸裝(zhuang)置中氣(qi)壓(ya)推動(dong)下(xia),快(kuai)速(su)排(pai)氣(qi),彈(dan)簧復位,活塞桿下(xia)移,并通過傳力(li)桿推動(dong)搖桿旋轉,從而(er)使閥(fa)(fa)瓣(ban)快(kuai)速(su)關閉(bi),關閉(bi)時間≤0.5秒,同(tong)時,在倒流(liu)(liu)介(jie)(jie)質(zhi)的作用力(li)下(xia)閥(fa)(fa)實現徹底密封,確保(bao)汽輪(lun)(lun)(lun)機(ji)平安無事。
| 序號 | 部件名稱 | 材料名稱 | ||||
| 1 | 閥 體 | A216 WCB | A217 WC1 | A217 WC6 | A217 WC9 | A217 C12A |
| 2 | 閥 瓣 | A216 WCB | A217 WC1 | A217 WC6 | A217 WC9 | A217 C12A |
| 3 | 搖 桿 | A216 WCB | A217 WC1 | A217 WC6 | A217 WC9 | A217 C12A |
| 4 | 搖 桿 軸 | A105 | A182 F11 | A182 F11 | A182 F22 | A182 F91 |
| 5 | 閥 蓋 | A216 WCB | A217 WC1 | A217 WC6 | A217 WC9 | A217 C12A |
| 6 | 填料壓蓋 | A216 WCB | A217 WC1 | A217 WC6 | A217 WC9 | A217 C12A |
| 7 | 填 料 | GRAPHITE | GRAPHITE | GRAPHITE | GRAPHITE | GRAPHITE |
| 8 | 螺 柱 | A193 B7 | A193 B16 | A193 B16 | A193 B16 | A193 B16 |
| 9 | 螺 母 | A194 2H | A194 16 | A194 16 | A194 16 | A194 16 |
| 公稱壓力Class | 150 | 300 | 600 | 900 | 1500 |
| 殼體強度試驗壓力(MPa) | 3.0 | 7.5 | 16.5 | 22.5 | 39.0 |
| 液體高壓密封試驗壓力(MPa) | 2.2 | 5.5 | 12.1 | 16.5 | 28.6 |
| 氣體低壓密封試驗壓力(MPa) | 0.5~0.7 | 0.5~0.7 | 0.5~0.7 | 0.5~0.7 | 0.5~0.7 |
| 設計制造 | JB/T 12002、DL/T 1822、NB/T 47044、ASME B16.34 | ||||
| 結構長度 | GB/T 12221、DL/T 1822、ASME B16.10 | ||||
| 焊接坡口 | GB/T 12224、DL/T 1822、NB/T 47044、ASME B16.25或按訂貨合同要求 | ||||
| 檢驗試驗 | GB/T 13927、NB/T 47044、API 598 | ||||
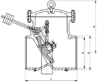
| 公稱壓力 Class | 公稱尺寸 NPS | 外形尺寸/mm | 重錘 | |||
| d | D | L | H | |||
| 150 | 6 | 152 | 182 | 320 | 256 | 無 |
| 8 | 201 | 235 | 450 | 300 | 無 | |
| 10 | 252 | 295 | 540 | 352 | 無 | |
| 14 | 328 | 380 | 610 | 437 | 無 | |
| 16 | 376 | 435 | 650 | 480 | 無 | |
| 18 | 425 | 486 | 740 | 533 | 無 | |
| 20 | 472 | 540 | 790 | 555 | 有 | |
| 24 | 568 | 645 | 915 | 615 | 有 | |
| 28 | 670 | 740 | 1040 | 781 | 有 | |
| 30 | 715 | 800 | 1120 | 821 | 有 | |
| 36 | 860 | 950 | 1500 | 929 | 有 | |
| 以上尺寸僅供參考,表中未列出的其他規格參數,請咨詢汗越閥門技術部! | ||||||

如果你需訂購我廠電站閥系(xi)列產(chan)品(pin),咨詢時煩(fan)請說明公稱(cheng)通(tong)徑、公稱(cheng)壓力(li)、材質(zhi)(zhi)、使用介(jie)質(zhi)(zhi)、工作(zuo)溫度、端部連接形式等(deng),本產(chan)品(pin)氣(qi)動(dong)執行器默認安裝在左側(順氣(qi)流方向看),若用戶有要求,需在合同中注明,也可設(she)置在右側。
